Richard William Pearse | |
---|---|
![]() Richard Pearse in 1903 | |
Born | |
Died | 29 July 1953 75) | (aged
Nationality | British, Dominion of New Zealand |
Other names | Dick "Aeroplane" Pearse, Bamboo Dick[1] |
Education | Waitohi Flat School and Upper Waitohi School |
Occupation(s) | Farmer, inventor |
Known for | Pioneering flights in heavier-than-air aircraft |
Relatives | Alfred Pearse Malcolm Sargent[2] Edgar Francis Babst, RAF (cousin)[2]: 21 |
Signature | |
![]() |
Richard William Pearse (3 December 1877 – 29 July 1953) was a New Zealand farmer and inventor who performed pioneering aviation experiments. Witnesses interviewed many years afterward describe observing Pearse flying and landing a powered heavier-than-air machine on 31 March 1903, nine months before the Wright brothers flew.[3]: 21–30 Ambiguous statements made by Pearse himself make it difficult to date the aviation experiments with certainty. In a newspaper interview in 1909, with respect to inventing a flying machine, he said "I did not attempt anything practical with the idea until 1904".[4]
Biographer Gordon Ogilvie credits Pearse with "several far-sighted concepts: a monoplane configuration, wing flaps and rear elevator, tricycle undercarriage with steerable nosewheel, and a propeller with variable-pitch blades."[5]
Pearse largely ended his early flying experiments about 1911 but pioneered on in novel aircraft and aero-engine invention from 1933 with the development of his "private plane for the million", a foldable single-engined tiltrotor convertiplane.[6][5]
Early life
Richard William Pearse, born at Waitohi Flat, South Canterbury, New Zealand, on 3 December 1877,[7] was the fourth of nine children of Digory Sargent Pearse (1844–1932) of South Petherwin, Cornwall, England,[8] and Sarah Anne Brown (c.1850–1937) of County Londonderry, Ireland.[9][10] Digory had migrated to New Zealand via South Australia in 1864–1865 and had taken up farming at Upper Waitohi, near Temuka. There he met and married Sarah, who'd come to New Zealand to be with her sister at Temuka in about 1867.[11]
Digory and Sarah taught each of their children to play a musical instrument and formed a family orchestra. Richard played the cello, which he always kept close to hand. The family were also good tennis players; his brother Warne competing in New Zealand championships for some 25 years.[10]
Richard Pearse attended the Waitohi Flat School from 1883 and Upper Waitohi School from 1891 to 1893, where, deep in thought at times and as a keen reader, he pursued an interest in technology.[2]: 30–33 Peter Friel, a classmate at Upper Waitohi School, told researchers that Pearse came to school one morning with a device he'd made from a herring in tomato sauce tin cut to form a multi-blade rotor, mounted to a cotton reel base—a string-pull helicopter. Seated on its launcher's peg and placed on a bench, he wound string around the reel and pulled away, whereupon the reel-rotor flew off and out of sight.[12]: 37 [2]: 34 Friel continued, "That’s how he got the start of that flying business!" Pearse revealed to the Timaru Post in 1909 that: "From the time I was quite a little chap, I had a great fancy for engineering, and when I was still quite a young man, I conceived the idea of inventing a flying machine."[4][13]
His father's investment in eldest son Thomas's medical degree at Edinburgh put aside any thought of support for Richard's aspiration to study engineering at Canterbury College in Christchurch. Instead, at age 21 in 1898, his father set him up with the use of 100 acres (40.5 ha) of Waitohi farmland, upon which, over the next 13 years, he established a workshop, realised his ideas for bicycles, aero engines, flying machines and other contraptions, and kept some 76–286 sheep.[2]: 34–38 [14]
Career
Early engineering work
A hint of Pearse's earliest flying machine work at Waitohi, South Canterbury, came from Jean Currie, in her 20s at the time.[15] When interviewed by researchers Tom Bradley and Geoff Rodliffe she recalled that quite some time before her family moved from Waitohi Flat to Morven in 1899, her father, Thomas Currie, farmer, and uncle, Alexander McClintock, blacksmith, had walked up to Pearse's workshop one Sunday only to return soon after, saying: "If he gets that contraption in the air he will fall out and kill himself." Though others spoke of Pearse working on his plane at the turn of the century or during the Boer War, Currie's account is dateable by Thomas Currie's acquisition of land in the Waikakahi Estate ballot of March 1899[16] and the family's departure from Waitohi.[2]: 47–48
.jpg.webp)

As no light suitably powered engines could be purchased at that time, many pioneering inventors made their own. In 1951, Pearse, then 73 years old, told Dr. J R Gilmour during an examination for aged care, that he had made an engine away back "during the Boer War".[2]: 49 This could be anytime between 1899 and 1902. In that period, the only person available to Pearse, with knowledge of building hydrocarbon engines, was Cecil Wood of Timaru, who, from the mid-1890s, had pioneered New Zealand built internal combustion engines, motorcars and motorcycles.[17][18] In later years, Wood told George Bolt and Harold Cederman that Pearse had visited him "in 1901 and 1902, and was shown how to make spark plugs with the central electrode insulated by mica. Wood also helped him with the design of surface carburettors."[2]: 50
The earliest technical description of his two-cylinder horizontally-opposed double-acting four-stroke "oil engine", was published in the 19 July 1906 provisional specification of Pearse's patent application, An Improved Aerial or Flying Machine (New Zealand Patent no. 21476), and indicated in Figure 1 of the 1907 complete specification; its existence confirmed by the recovery of two 4 inch bore x 12 inch cast iron cylinder relics in 1971.[19][2]: 49 The two pistons were connected by a single piston rod, with the crank-arm and crank mechanism, turning the propeller shaft, mounted about the centre. Calculations indicate the engine could have produced as much as 15 hp (11.19 kW); "quite enough power to get a plane off the ground. The Wright brothers, after all, managed their 1903 flights on 12 hp."[2]: 54
Crudely built, this engine appears to be Pearse's earliest, preceding his light 25 hp (18.64 kW) four-cylinder horizontally-opposed single-acting four-stroke engine which features in a 1909 Temuka Leader article. Pearse informed the Minister of Defence in May 1945, he'd started to work on this engine from about February 1904, a few months after Samuel Langley's aeroplane failed to fly. He referred to the 25 hp engine as an "aeroplane motor", his "first motor" and the "first single-acting 4 cylinder motor".[20]
At some point Pearse mounted the earlier two-cylinder engine within the flying machine—a tricycle undercarriage surmounted by a fabric-covered bamboo wing structure. In general layout the machine resembled modern aircraft design: monoplane rather than biplane; tractor rather than pusher propeller. Witnesses tended to agree that the flying machine had no tail section.[21]
Pearse's interest in engineering was not confined to aviation. In 1902, at Waitohi, Pearse invented a novel bell-crank pedal lever type bicycle with self-inflating tyres. Messrs. Martin and Co. of Christchurch built the bicycle, and Pearse made key components himself.[22] Traveling up to Christchurch, he filed a patent application for the invention, via his newly appointed patent agent Henry Hughes,[23] with the Christchurch Patent Office on 8 February 1902 (New Zealand Patent no. 14507)[24]—his first patent.[19] Coincidentally, on the day the Patent Office issued Letters Patent, Pearse's bicycle drew public attention when he rode it in to Temuka on Sale Day, Tuesday, 19 May 1903,[25] and Timaru on Wednesday, 20 May 1903.
Flights
Ever since the first aviation experiments, the use of the term "flight" has often been contentious because it has no universally agreed definition. Researcher Geoff Rodliffe uses the dictionary definition of the term to describe a powered flying machine being airborne for even a short time.[3]: 21
Some early aviators such as the Wright Brothers defined flight as being sustained, controlled and powered in a heavier-than-air flying machine to a predetermined location. While the early Wright Brother flights were launched from horizontal rails set on top of sand, Pearse incorrectly believed that their aeroplane was launched with the assistance of a catapult.[2]: 58, 68 [26]
Other aviators including Richard Pearse defined "flight" as taking off and landing at a predetermined location and then immediately returning to the take-off location. Having to take off from rails, or having take off assistance from a catapult did not interest Pearse, which is why his flying machine has wheels.[2]: 58, 68 In 1915 Pearse wrote in a letter to a newspaper:
The honour of inventing the aeroplane cannot be assigned wholly to one man; like most inventions, it is the product of many minds. After all, there is nothing that succeeds like success, and for this reason, pre-eminence will undoubtedly be given to the Wright Brothers, of America, as they were the first to make successful flights with a motor-driven aeroplane. At most America can only claim to have originated the aeroplane. The honour of perfecting it and placing it on its current footing belongs to France.[26]
Researchers into Pearse's aeronautical work had located some 55 surviving witnesses by the 1980s. They assigning a principal category to each witness at that time: 20 had seen a flight or more, 9 had seen a plane on a hedge or in the workshop awaiting repairs, 2 had heard the plane in flight but did not see it, 7 had a second hand account of seeing flight, 10 knew of flights and 7 had seen or knew of the flying machine under construction.[12]: 69
Some witness accounts suggest Pearse flew in 1902; others indicate a series of flights in 1903, ending in winter that year. Some dateable events recalled as occurring about the time of the flights were: immediately after excessive flooding of the Ōpihi River on 23–24 March 1902; on 31 March, preceding April Fools' Day; within a year of the end of the Second Boer War and following the disbanding of the 9th Contingent, New Zealand Mounted Rifles, South Island Regiment, in New Zealand on 21 August 1902; about the time of Eugen Sandow's visit to Timaru, 26–29 December 1902;[27] during Honora Crowley's last teaching year at Upper Waitohi School to September 1903; and before the Big Snow snowstorm from 11 July 1903. Following decades of research to establish dates, 31 March 1903 is noted by historians as the day when Pearse may have achieved some sort of witnessed flight.[28][29]
1903 March 31: Upper Waitohi School take off, Main Waitohi Road
With the help of Pearse's brother Warne, the aeroplane was pushed 800 metres up the gravel road to the Upper Waitohi School crossroads, where two dozen spectators gathered to watch the fun. During several attempts to get the machine to work, the crowd dwindled to a handful of people. On the final effort Richard signalled to Warne to pull the propellor to start the engine, while boulders placed in front of the wheels, and volunteers, restrained the plane. After a short time the engine picked up speed. The boulders were then released, and the aircraft was given a push by volunteers.[2]: 56–58 [12]: 60–72
The Plane taxied for a considerable distance, keeping to the centre of the road. Pearse then accelerated, and the machine rose sluggishly into the air, sounding ’rather like a chaffcutter’. It was travelling at an estimated 30kph, with a peak altitude exceeding 3 metres. Decades later witnesses provided affidavits describing the plane pitching and wobbling in the air, followed by a final leftward swerve onto the top of a 12 foot high gorse fence which fronted Pearse's property. Estimates for the distance covered by witnesses vary from 45 metres to 400 metres, with an average of 135 metres. Richard hurt his shoulder during the crash. He was taken to hospital to see if he had broken his collar bone, but it was not, and he returned home the next day. The hospital later burnt down along with the records.[2]: 56–58 [12]: 60–72 [30] [31]
The following day, witnesses describe telling other people of the ‘flight’ and being accused of making an April fool's joke, thus, the date of the event was the 31st of March. One group of witnesses were school students, who had this discussion while riding their ponies to school.[30] Three of these students stopped attending School in the months leading up to April 1903. With this and other evidence, Pearse historians generally agree that this take off likely occurred on 31st of March 1903, with a less likely year of 1902, and could not have occurred in 1904. This is the only flight experiment witnessed by multiple people.[2]: 56–58 [12]: 60–72 [30] [31]
Preceding the Wright brothers powered flights, this was one of two aircraft which achieved a successful flight attempt, from level ground without the use of ramps, slopes, guiderails, or catapults. The other was Clément Ader of France, who in 1890 is given credit by aviation historians for achieving a flight distance of approximately 50 metres at an altitude of 20 centimetres.[2]: 58
1903: Multi-lap Paddock Flight, Richard Pearse's Farm, Waitohi
John William Casey, born 1896, seven years old in 1903, recalled that soon after Pearse's first takeoff the news spread "that there was to be another free show", and on that day a crowd, which he roughly estimated to number about 30 people, gathered near Pearse's farm, the edge of which was only about 0.28 miles (450 m) from the school. Casey recalled that Miss Crowley let her students out of school to watch the event. According to Casey's account and estimations, after a short run of about 3 chains (60 m) Pearse's flying machine lifted off from an elevated part of the paddock, rose to about 60 feet (18 m) and, after flying two and a half circuits of the field, perhaps 1.5 miles (2.4 km), landed on the gorse hedge separating the corner paddock from his workshop paddock. He thought the event lasted about ten minutes.[32]: 73–74 In a letter to Geoff Rodliffe, Casey described the flying machine as having a tricycle undercarriage supporting a wing about 5–6 feet (about 1.5–1.8 metres) above ground and provided an accurate drawing showing the points of takeoff and landing.[33]
The flight had to have occurred before Miss Crowley left the district in September 1903.[32]: 70 John Casey moved with his parents William and Margaret to the new Chamberlain settlement near Albury, some 25 miles (40 km) from Waitohi,[34] in June 1904.[32]: 75
Casey believed that Pearse's brother, Warne, spun the propeller; however, Warne and others apparently never referred to such an impressive flight. Warne had pulled the propeller to start the engine on the previous flight run from the Upper Waitohi School. Casey also named five other people who may have witnessed the flight. Several independently recalled Miss Crowley as their teacher at that time, four described other flight attempts, and the fifth died before he could be interviewed.[32]: 59, 66, 74, 75 [35]
If Casey's observations could be verified, this would be the first controlled flight in the world by a powered aeroplane.[32]: 75
1903 April 11, Holy Saturday, Easter: The Terrace Flight, Opihi River, Waitohi
Robert Mitchell Gibson's accounts of a flight[36][37][38] were considered by researchers to be amongst the most credible. Born 2 December 1895,[7][39] he was 8 years old when his older brother Ramsay, age 13 years, took him on another cycle excursion, this time with a number of youths to help Pearse prove his flying machine.
Gibson recalled that Pearse had transported his flying machine with a dray and couple of horses from his shed to a terrace field above the Opihi River. On the first run, the flying machine headed down the hill and into a clump of gorse. After the boys had pulled the machine out and up the top to the dray, they and Pearse inspected the ground for half an hour in preparation for another run. The boys then headed Pearse and his flying machine on toward the cliff but after about 1 chain (20 m) they were left behind as the flying machine gathered speed by its own thrust. As the flying machine went over the cliff and into the air, the boys watched it turn and fly up the river up to 0.5 miles (800 m) gradually going downwards. They ran diagonally across the paddock to find a wet Pearse scrambling up the riverbank.[2]: 72
Gibson was certain the flight took place in the Easter school holidays before Easter, or Easter Saturday (11 April), 1903. He dates the flight as having occurred shortly before the severe snowstorm of 1903—the Big Snow. This was the only snow to fall from 1902 to 1905. Gibson also dates the flight as occurring shortly after his brother Ramsey turned 14 in 1903. After his birthday, Ramsey immediately moved away from Waitohi to work. Ramsey never returned to Waitohi and died in 1908.[2]: 72
Gibson also served during the Great War,[40] and recalled that he had been involved in a fight as a result of claiming that he had seen a New Zealander fly before the Wright Brothers.[41][12]: 66 The Royal Navy consistently recorded Gibson's character as "VG".
Gibson's later attempts to identify the other youths present at the Opihi River terrace flight were not successful.
The descending upstream flight, as recalled, may be best described as a powered glide,[2]: 77 though an engineer's calculation of the Opihi River site in the 1970s, based on local government survey data, plotted it as an "almost level flight" of just 3,300 feet (1,000 m) in length, from a terrace about 30 feet (9.1 m) above the riverbed, descending about 24.57 feet (7.49 m) to the river—an approximate grade of 1 in 134.[42]
Arthur Tozer, who was about 17 years old at the time, recalled an event similar enough to be the same; that whilst driving a horse-drawn carriage through the Opihi riverbed he saw Pearse fly overhead but thought he had flown on to land on the terrace. Multiple independent hearsay accounts unrelated to Gibson's flight were made by several sources. Because of the multiple witness and hearsay accounts, it is considered hard to doubt that Pearse at some time made an attempt to fly off the Opihi River terrace.[2]: 74
1903 May 2, Saturday: Paddock Flight, Richard Pearse's Farm, Waitohi
Alexander Amos Martin was sure in his accounts of the flight he had seen.[43] He recalled that he was about 16 and a half years old when he saw one of Pearse's flights. Martin and his father had finished chaff cutting a stack of sheaves on Dick Connell's farm about 2:00 pm. From Upper Waitohi's main road he could see an odd contraption in Pearse's paddock. Pearse had pushed his bamboo plane out of his shed and after altering the steering, started the engine and taxied for about 50 yards (46 m). The plane then rose up into the air about 10 to 15 feet (3.0–4.6 metres) above ground, flew for about 50 yards (46 m) and crashed into a big gorse fence. "He could not go any higher because he had no more Power the engine was all out and the under carriage and wheels caught in the gorse fence."[44] Martin took off on his bicycle and rode on after his father's chaff cutting plant.[45]
Amos Martin stated that, "The time Pearse flew was on May 2nd 1903 at between half past two in the afternoon and four o'clock."[45] "It was the year of the Big Snow."[43] Writing to Joseph Coll on 23 May 1967, Martin said "I say this that it was Pay-day and Pay-day was the first Saturday of the month."[44] He left Temuka for the coalmine at Nightcaps, Southland, in August 1903.[45]
1903: Paddock Flight, Richard Pearse's Farm, Waitohi
Daisy Moore Crawford (later Mrs. McLean), born 1892, recalled that she saw Pearse's flying machine in the air. She was with her father, William, who was a close friend of Pearse, on the hillside at the back of Pearse's farm. When interviewed by Anna Cotterill and filmed by Hutton for TV One News in 1976, she said: "I can remember it lifting up and coming down, and veering towards the road where there was a gorse fence, and landed on the gorse fence. And that gorse fence and the plane stuck in my mind, always!" Daisy didn't think he'd hurt himself but had landed with the cushion effect of the gorse hedge. When asked if there were a lot of people watching him, Daisy replied: "There was no one watching him! Well there was those girls up at the hill like, but, down, when you come down near the homestead, his own little cottage, on the right hand side, over, there was just himself and his plane. But I can remember there might have been somebody on the road, but I never saw anyone [watching him]."[46] In a letter to Geoff Rodliffe dated 5 September 1976, Clifford Crawford, Daisy's brother, said Daisy was certain the event occurred on Tuesday, 31 March 1903.[12]: 67
1903 April–May
Frank James Biggs of Taiko, born 28 September 1890, was educated at Fairview School, Fairview, Timaru, some 21 miles (34 km) from Waitohi, after the family moved there in 1898.[47][48] He recalled his teacher at Fairview, Mrs. Christian Ritchie,[49] telling the children that Pearse had flown. Writing to Joseph Coll on 25 May 1967, Frank Biggs said, "Now regarding the flight, I can remember it pretty clearly it would be late April or early May. Spud digging time. I think Mr. Martin as he witnessed the flight would be correct with his statement."[12]: 67 [50] Biggs thought the year to be between 1902 and 1904.[51]: 23 [2]: 67 Mrs. Ritchie, head teacher at Fairview School since 1894, retired from teaching in April 1906, and presented with gifts from her many friends and well wishers, left the settlement.[52][53]
1903
Sisters, Annie Fraser (later Mrs. Casey) and Margaret Fraser (later Mrs. Esler), recalled that they were on a hill filling sacks of potatoes dug by David Stumbles, when they heard Pearse's flying machine in the distance. They piled up potatoes and threatened that if Pearse flew in their direction they would pelt him with spuds.[12]: 65 [2]: 62, 66
Experiments on aerial navigation
Pearse continued to develop the ability to achieve fully controlled flight. He incorporated small "ailerons". Diagrams and eyewitness recollections agree that Pearse placed controls for pitch and yaw at the trailing edge of the low-aspect-ratio kite-type permanently stalled wing. This control placement (located in turbulent air-flow, and close to the centre of gravity) would have had minimal, possibly inadequate, turning moment to control the pitch or yaw of the aircraft. The Wright brothers, in comparison, successfully applied the principles of airfoil wing-profile and three-axis control to produce fully controlled flight.
1909

Pearse reappeared in the newspapers in late 1909 with his latest huge 700–900 sq ft. flying machine powered by a 24 horsepower motor. In a 1928 letter to The Star, Christchurch, Pearse summarised his progress in this particular "oval-shaped" monoplane:
At the trials it would start to rise off the ground when a speed of twenty miles an hour was attained. This speed was not sufficient to work the rudders, so, on account of its huge size and low speed, it was uncontrollable, and would spin round broadside on directly it left the ground. So I never flew with my first experimental 'plane, but no one else did with their first for that matter.[54]
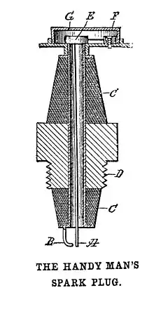
The Otago Witness, 1 December 1909, also observed that "Mr. Pearse has always been of an inventive turn of mind, as a visit to his workshop will show. Just lately the Scientific American printed an idea of his for an improved sparking plug for either high or low tension."[55] Following many searches, researchers had doubts that this article existed, until it came to light during a search of Auckland Libraries’ bound volumes in 1999. R W Pearse's "The Handy Man's Spark Plug" was published in the 4 September 1909 issue of Scientific American,[56] and again in Alexander Russell Bond's Handy Man's Workshop and Laboratory, a Scientific American Series publication, in 1910.[57] Pearse's handy man's spark plug, having a wire within a central tube, utilised the pressure of the engine's compression stroke to operate a valve, to vibrate the connected terminal wire into contact the central tube's terminal, to produce multiple sparks.
Pearse's work was not clearly reported at the time; no contemporary newspaper accounts appear to exist of his earliest efforts. Pearse's own statements, interpreted though modern day lenses, have bamboozled many researchers, writers and critics. For many years such led the few who knew of his feats to accept 1904 as the date of flying. Unconcerned about posterity and in remote New Zealand, he received no public credit for his work during his lifetime. Pearse patented his design, but his innovations—such as ailerons and the lightweight air-cooled engine—did not succeed in influencing others.
Later activities
Pearse moved to Milton in Otago in about 1911 and discontinued his flying experiments due to the hillier country there. Much of his experimental equipment got dumped in a farm rubbish-pit. However, he continued experimenting and produced a number of inventions. He subsequently moved to Christchurch in the 1920s, where he built three houses and lived off the rentals.
Throughout the 1930s and 1940s, Pearse continued to work on constructing a tilt-rotor flying-machine for personal use – sometimes described as a cross between a windmill and a rubbish-cart. His design resembled an autogyro or helicopter, but involved a tilting propeller/rotor and monoplane wings, which, along with the tail, could fold to allow storage in a conventional garage. He intended the vehicle for driving on the road (like a car) as well for flying.
In 1951, aged 73 years, he was admitted to Sunnyside Hospital, Christchurch, diagnosed as suffering from arteriosclerotic psychosis, a common ailment among the elderly.[2]: 1 [58] He died there two years later. Researchers believe that many of his papers were destroyed at that time.
Claims
The Public Trustee administered Pearse's estate following his death in 1953. The trust officer was instructed to place the properties and saleable articles up for auction and dump Pearse's patented convertiplane invention. Setting in motion a serendipitous train of events, the auctioneer George Anderson offered the convertiplane to the Canterbury Aero Club. Following inspection by the club's chief flying instructor, engineer and captain, their captain, Harry Walker, purchased it himself for £5 in June 1954 to save it from the scrap heap. They transported it to the club's hangar at Harewood, along with Pearse's powercycle as part of the lot. Intrigued by the shed find, Walker also rescued, examined and sorted what was left of Pearse's papers and patents from the trustee's rubbish heap and the yard.[59][2]: 5–14 Sometime later, during a stopover at Christchurch Airport, Captain John Malcolm, NAC, caught sight of Pearse's dismantled convertiplane in the hangar, and reported the find to aviation pioneer George Bolt in Auckland.[60]: 46 [61] As a result, Bolt went to see Pearse's last flying machine during his next visit to Christchurch in March 1956. It is at this point that the tide turned for Richard William Pearse and his lifetime pursuit of aviation invention, from certain obliteration to recognition.[2]: 5–14
In 1958, Bolt excavated the South Canterbury dump site and discovered some components, including a propeller. His research in the 1950s and 1960s produced evidence for flight in 1903:[62][63] people who had left the district by 1904 remembered the events, and recalled a particularly harsh winter with heavy snow.
During filming of a television documentary in the 1970s, the crew attached a replica of Pearse's 1902–03 machine by a rope to a horse. When the horse bolted, the pilotless machine took to the air and flew laterally stable for some considerable distance before landing clumsily with slight damage, surprising all and prompting an impression that it was flyable.[64]: 58 Unfortunately, as the cameras had been put aside, the event went unfilmed.[60]
Debunking the myth

In a 1909 newspaper interview, Pearse said "I did not attempt anything practical with the idea until, in 1904, the St Louis Exposition authorities offered a prize of £20,000 to the man who invented and flew a flying machine over a specified course. I did not, as you know, succeed in winning the prize, neither did anybody else."[4][13][66] He also wrote two letters to local newspapers in 1915 and 1928. In his letter 'Who Invented the Aeroplane?' to the Evening Star, Dunedin, 10 May 1915 he stated: "The question is Who invented it first? I thought of it long before I took out a patent..." Also, "The honor of inventing the aeroplane [...] is the product of many minds [but] pre-eminence will undoubtedly be given to the Wright brothers [...] as they were actually the first to make successful flights with a motor-driven aeroplane".[67][26] The Wright brothers made successful controlled flights at Huffman Prairie, Ohio, in late 1904, and with their first practical aeroplane, Flyer III, in 1905.[68]
Aviation executive Evan Gardiner defended the legacy of his great uncle, Richard Pearse. In a newspaper article he emphasized that biographer Gordon Ogilvie had found 48 eyewitness accounts of aircraft work by Pearse and his attempted flights between 1902 and 1904. Gardiner wrote, "48 is too high a number for all to be misled, misinformed, over-imaginative, senile, lying or stupid."[69]
Legacy
.jpg.webp)

At the dawn of the 20th century, a number of enthusiasts in several countries advanced towards powered heavier-than-air flight. Pearse, as one of several designers contemporary with the Wrights, advanced some distance towards controlled flight. However, Pearse's designs and achievements remained virtually unknown beyond the few who witnessed them and they had no impact on his contemporary aviation designers.
Museum of Transport and Technology (MOTAT) in Auckland holds Pearse's last aeroplane, a tilt-rotor convertiplane,[70] his 25 hp four-cylinder engine[71] and metal propeller[72] from the later first flying machine, his powercycle [73] and other original artefacts. The collection includes the created for the 1975 television docudrama Richard Pearse, based on Pearse's patent, witness descriptions and early 1900s technology.
South Canterbury Museum in Timaru displays material relating to Pearse and to his contribution to early aviation.
Pleasant Point Museum and Railway in Pleasant Point displays original Pearse engine artefacts and other items.
South Canterbury Aviation Heritage Centre in Timaru displays material relating to Pearse. The collection includes interpretations of Pearse's earliest flying machine constructed for the Richard Pearse Centenary of Flight 1903-2003 (MOTAT and South Canterbury Aviation Heritage Centre), for experiment and public display, along with several experimental two-cylinder engine reconstructions based on the remnants and descriptions of Richard Pearse's original engines.

The Richard Pearse Memorial stands at Waitohi, South Canterbury, where Pearse made attempts at powered flight (44°12′29″S 171°07′23″E / 44.20807°S 171.12303°E).[74]
The South Island lakeside town of Wānaka has a line of tiles mounted on the sidewalk by the lake listing important historic world and New Zealand events. The 1903 tile says that the first powered flight in history occurred in Timaru, and at the bottom of the tile for 1903 the Wright Brothers were listed as having also flown that year. Millennium path tiles were removed in 2019 in preparation for future lake shore redevelopment.[75]
Popular culture

The arts have commemorated Richard Pearse's remarkable achievements over the years.
Poetry
- Solo Flight (1982) by William (Bill) Sewell. A series of meditations about the South Canterbury aviator Richard Pearse. ISBN 0908569289.
Plays
- The Pain and the Passion (2000) by Sherry Ede. Performed at the Rose Centre Theatre, Belmont, Auckland, by Company Theatre, 10–24 June 2000;[76] MOTAT, Auckland, for the Richard Pearse Centenary of Flight 1903–2003, 2003. Director: Sherry Ede;[77] and Canterbury Repertory Theatre, Christchurch, 31 March–12 April 2003, for the Richard Pearse Centenary of Flight 1903–2003. Director: Penny Giddens QSM.[78]
- Too High the Son (1996) by Stephen Bain and France Hervé. Performed at City Gallery, Wellington; Downstage Theatre, Wellington; Maidment Theatre, Auckland.
- Jean and Richard (1990) by Mervyn Thompson. A fantasy in which Jean Batten and Richard Pearse meet in the afterlife. Performed by the Court Theatre, Christchurch, 1990.
- Pearse (1981) by John Leask. Performed by the Little Theatre Section, South Canterbury Drama League,[79] 1981. Director: Dawn Somerville;[80] and by the Little Theatre Section, Timaru, for the Richard Pearse Centenary of Flight 1903–2003, 2003.
Film and television
- A Century of Flight: A Tribute to Richard William Pearse (2003). Documentary by Bob Jessopp, Horizon Video Communications. MOTAT, Auckland. An overview of the Richard Pearse Centenary of Flight 1903–2003.
- Forgotten Silver (1995). Mockumentary by filmmakers Costa Botes and Peter Jackson.[81] Purports to uncover a long-lost segment of motion picture film that, with digital enhancement of a newspaper seen in one shot, "proves" that Pearse successfully flew in March 1903, predating the Wrights' achievement by several months.[82]
- The New Adventures of Black Beauty: The Birdman (1990). Isambard Productions' continuation of the 1970s UK television series. A young inventor attempts to fly in a Richard Pearse-like contraption.[83]
- Off the Ground – 1: The First to Fly (1982). Documentary by the National Film Unit. Richard Pearse leads off a three-part series on the history of aviation in New Zealand.[84]
- Richard Pearse (1975). Docudrama, New Zealand Television One (NZBC). Set during his first flying machine efforts, the film focuses on Pearse's reclusive manner and local perceptions of his eccentric activities.[85]
Novels, novellas, and short stories
- Oh, for the Wings of a Moth (1999) by Helene Moore and Geoff Rodliffe. An historical novel woven around the life of Richard Pearse.
- The Red Menace (1999-2002). An eight-part Doctor Who/The War of the Worlds crossover fan fiction novella by Jeff Stone published in the New Zealand Doctor Who fanzine Reverse the Polarity!, nos 6–13, January 1999–November 2002, extensively features Pearse as the co-creator of flying machines used to battle the returning Martian invaders. The unpublished extended version features material outlining Pearse's lonely journey to Britain to try to interest businessmen in his "aero-nautical device" designs.[86]
Music
- To the Sky composed by Dwayne Bloomfield—Assistant Bandmaster, New Zealand Army Band, and Musical Director, Timaru Municipal Band.[87] Performed by massed bands directed by Dwayne Bloomfield at the Richard Pearse Centenary Concert, Theatre Royal, Timaru, 29 March 2003.
- I Can Fly in the Dark composed by Natasha Murphy. Performed at the Richard Pearse Centenary Concert, Theatre Royal, Timaru, 29 March 2003.
- He Flys composed by Dave Denize. A ballad performed by Dave Denize at the Richard Pearse Centenary Concert, Theatre Royal, Timaru, 29 March 2003.
See also
- List of firsts in aviation
- Harry Houdini: The Aviator — Houdini's flight at Diggers Rest, Friday, 18 March 1910.
References
- ↑ "Early Flight at Temuka in Home-made Aeroplane". The Press. Vol. 90, no. 27393. 5 July 1954. p. 10.
- 1 2 3 4 5 6 7 8 9 10 11 12 13 14 15 16 17 18 19 20 21 22 23 24 25 Ogilvie, Gordon (2003). The Riddle of Richard Pearse (4th Edition (revised) ed.). Wellington: A.W. & A.H. Reed. ISBN 9780790003290.
- 1 2 Rodliffe, C. Geoffrey (2003). Richard Pearse: Pioneer Aviator (4 ed.). Thornbury, UK: C. G. Rodliffe.
- 1 2 3 "A Flying Machine". The Clutha Leader. Vol. 36, no. 49. 30 November 1909. p. 6.
- 1 2 Ogilvie, Gordon (1996). "Story: Pearse, Richard William". Te Ara — the Encyclopedia of New Zealand. Dictionary of New Zealand Biography. Retrieved 16 February 2019.
- ↑ Foster, Bernard John (1966). "Pearse, Richard William". An Encyclopaedia of New Zealand. Retrieved 16 February 2019.
- 1 2 "Births, Deaths and Marriages Online". Births, Deaths, Marriages and Citizenship.
- ↑ "Temuka". Timaru Herald. Vol. 136, no. 19136. 18 March 1932. p. 11.
- ↑ "Obituary". Press. Vol. 73, no. 22173. 17 August 1937. p. 2.
- 1 2 "Obituary". Matamata Record. Vol. 20, no. 1859. 16 August 1937. p. 2.
- ↑ "Married". Timaru Herald. Vol. 14, no. 592. 28 January 1871. p. 2.
- 1 2 3 4 5 6 7 8 9 Rodliffe, C. Geoffrey (1997). Wings Over Waitohi: The Story of Richard Pearse (2 ed.). Auckland: C.G. Rodliffe. ISBN 9780473020941.
- 1 2 "After Five Years, a New Zealand Flying Machine Completed: Mr Richard Pearse of Waitohi the Inventor". The Timaru Post. 17 November 1909.
- ↑ "The Annual Sheep Returns". Appendix to the Journals of the House of Representatives. 1898–1911.
- ↑ "Cemetery Search". Timaru District Council. 2013. Retrieved 26 April 2020.
- ↑ "The Waikakahi Estate. The Ballot". The Lyttelton Times. Vol. 101, no. 11853. 30 March 1899. p. 6.
- ↑ ""Tourist" Motor Bicycle". Timaru Herald. Vol. 76, no. 11629. 12 December 1901. p. 3.
- ↑ "Coming of the Motor: Timaru's Pioneering Effort Looking Back Thirty Years". Timaru Herald. Vol. 125, no. 17773. 8 October 1927. p. 11.
- 1 2 To see Pearse's patent specifications, use the search at IPONZ (Intellectual Property Office of New Zealand web site) and enter his patent numbers, 14507 or 21476
- ↑ Pearse, Richard William (28 May 1945). "Detailed Description of Private-plane". Letter to Minister of Defence. Wildberry Street, Woolston, Christchurch.
- ↑ Cole, Lance (30 June 2015). Secret Wings of World War II: Nazi Technology and the Allied Arms Race. Pen and Sword. p. 46. ISBN 978-1-4738-6271-5.
- ↑ "Town & Country". The Timaru Herald. Vol. 78, no. 12072. 21 May 1903. p. 2.
- ↑ "Who is Henry Hughes?". Henry Hughes Intellectual Property. Retrieved 10 January 2020.
- ↑ "1903. New Zealand. Patents, Designs, and Trade Marks: Fourteenth Annual Report of the Registrar". Appendix to the Journals of the House of Representatives, 1903 Session I, H-10: 16.
- ↑ "Local & General". Temuka Leader. No. 4052. 21 May 1903. p. 2.
- 1 2 3 Pearse, R. W. (10 May 1915). "Who Invented the Aeroplane?". The Evening Star. No. 15799. p. 2.
- ↑ Daley, Caroline (2000). "Selling Sandow: Modernity and Leisure in Early Twentieth-Century New Zealand" (PDF). New Zealand Journal of History. Department of History, The University of Auckland. 34 (2).
- ↑ Petchey, Peter (2004). "Richard Pearse's southern sojourn: Historical & archaeological features relating to Richard Pearse's residency in Milton, Otago, 1911-1912. Archaeology in New Zealand". Archaeology in New Zealand. New Zealand Archaeological Association. 47 (3): 178–189.
- ↑ "Richard Pearse". nzhistory.govt.nz. Retrieved 13 May 2023.
- 1 2 3 MOTAT · Museum of Transport and Technology (nd), Fact Sheet Richard Pearse (PDF), Auckland: MOTAT, archived from the original (PDF) on 22 May 2010, retrieved 25 June 2010
- 1 2 Archived at Ghostarchive and the Wayback Machine: Florence Pearse (interviewee), Ruth Pearse (interviewee). Richard Pearse - Eye Witnesses 1 & 2 - Sisters.
- 1 2 3 4 5 Ogilvie, Gordon (2003). The Riddle of Richard Pearse (4th Ed). Auckland: A. W. & A. H. Reed. ISBN 0790003295.
- ↑ Rodliffe, C. Geoffrey (1997). Wings Over Waitohi: The Story of Richard Pearse. Auckland: C. G. Rodliffe. p. 68.
- ↑ "Obituary". Timaru Herald. Vol. 98, no. 170636. 21 October 1921. p. 8.
- ↑ Rodliffe, C. Geoffrey (1997). Wings Over Waitohi: The Story of Richard Pearse. Auckland: C. G. Rodliffe. p. 77.
- ↑ Archived at Ghostarchive and the Wayback Machine: Robert Mitchell Gibson (interviewee), Keith Aberdeen (interviewer), Maria Hill (researcher) (1971). Richard Pearse – Eye Witnesses 3a – Neighbour.
- ↑ Archived at Ghostarchive and the Wayback Machine: Robert Mitchell Gibson (interviewee), Keith Aberdeen (interviewer), Maria Hill (researcher) (1971). Richard Pearse – Eye Witnesses 3b – Neighbour.
- ↑ Off the Ground – 1: The First to Fly. National Film Unit. 1982.
- ↑ "ANF1754, Robert Mitchell Gibson". Australian Naval Force (ANF) Engagement and Service Records, 1903-1911. Australian War Memorial.
- ↑ "Robert M. Gibson". Online Cenotaph. Auckland War Memorial Museum. Retrieved 19 January 2020.
- ↑ Rodliffe, C. Geoffrey. Richard Pearse: Early New Zealand Pioneer Aviator. Museum of Transport and Technology. p. 22.
- ↑ Bell, Graham (1978), The Terrace Flight, Auckland
{{citation}}
: CS1 maint: location missing publisher (link) - 1 2 Archived at Ghostarchive and the Wayback Machine: Amos Martin (interviewee), David McPhail (interviewer) (1969). Richard Pearse – Eye Witnesses 4 – Amos Martin.
- 1 2 Martin, Amos (23 May 1967). "R. W. Pearse flight". Letter to Joseph Coll. Temuka, North Town Belt.
- 1 2 3 Martin, Amos (7 February 1966). "Proposed Richard Pearse memorial plaque". Letter to Town Clerk, Timaru Borough Council.
- ↑ Geoff Rodliffe (interviewee), Daisy McLean (interviewee), Clifford Crawford (interviewee), Anna Cotterill (interviewer), Hutton (cameraman) (August 1976). Art. Falkner (Kodak Ektachrome EF film, 7242. Tungsten. 16 mm magnetic striped, perforated one edge—winding B). Christchurch: TV One News.
- ↑ "Frank James Biggs". Online Cenotaph. Auckland War Memorial Museum. Retrieved 8 February 2020.
- ↑ "Profile: BIGGS, Frank James (Service number 87388)". SCRoll (South Canterbury Roll of Honour). South Canterbury Museum, Timaru. Retrieved 8 February 2020.
- ↑ The Cyclopedia of New Zealand: Canterbury Provincial District. The Cyclopedia Company Limited. 1903. pp. 1032–1033.
- ↑ Biggs, Frank J (25 May 1967). "Now regarding the flight". Letter to Joseph Coll. Taiko, Timaru.
- ↑ Rodliffe, C. Geoffrey (1983). Richard Pearse: Pioneer Aviator. Auckland: Museum of Transport and Technology, and Richard Pearse Memorial Committee.
- ↑ "Town & Country". Timaru Herald. Vol. 83, no. 12964. 2 May 1906. p. 4.
- ↑ "Jubilee of District". The Press. Vol. 75, no. 22605. 10 January 1939. p. 5.
- ↑ Pearse, R. W. (15 September 1928). "Who Invented the Aeroplane?". The Star. No. 18567. p. 2.
- ↑ "A New Zealand Aeroplane". The Otago Witness. 1 December 1909.
- ↑ Pearse, R W (4 September 1909). "The Handy Man's Spark Plug". Scientific American. Vol. 101, no. 10. p. 164. JSTOR 26007500.
- ↑ Bond, Alexander Russell (1910). Handy Man's Workshop and Laboratory. New York: Munn & Co., Inc.
- ↑ Yarwood, Vaughan (October–December 1999). "The Birdman of Upper Waitohi". New Zealand Geographic. No. 44. Auckland: Australian Consolidated Press New Zealand. pp. 110–127.
- ↑ Walker, Harry W. (20 February 1959). "Pearse's aeroplane". Letter to George B. Bolt. Christchurch.
- 1 2 Rodliffe, C. Geoffrey (1993). Wings Over Waitohi: The Story of Richard Pearse (1 ed.). Auckland: Avon Press.
- ↑ "Convertiplane". Flickr. Retrieved 13 May 2023.
- ↑ "First Powered Flights Made by Timaru Man?". The Press. Vol. 97, no. 29029. 19 October 1959. p. 7.
- ↑ "First Flight Claim: Additional Evidence Obtained". The Press. Vol. 99, no. 29165. 28 March 1960. p. 15.
- ↑ Rodliffe, C. Geoffrey (2007). Richard Pearse and His Flying Machines: An Anthology of Research Notes, Essays and Ideas (1 ed.). Auckland: C.G. Rodliffe.
- ↑ "New Zealand Scene". New Zealand Wings Magazine. Vol. 45, no. 11. November 1977.
- ↑ O'Rourke, Paul. "Pearse flew long after Wrights". Stuff. Stuff Limited. Archived from the original on 25 April 2012. Retrieved 15 February 2019.
- ↑ Duffy, Jonathan (12 December 2003). "Flights of fancy?". BBC News Online Magazine. BBC News.
- ↑ "Air Yacht's Successful Trial". The New Zealand Herald. Vol. 43, no. 13181. 19 May 1906. p. 2. Retrieved 8 January 2020.
- ↑ Evan Gardiner (11 May 2012). "NZ aviation pioneer was the real deal". The Press. Archived from the original on 10 September 2012.
- ↑ "Aircraft (Richard Pearse Utility Aircraft)". MOTAT. Retrieved 20 November 2021.
- ↑ "Aeroplane Engine (Pearse Aeroplane Engine Remains)". MOTAT. Retrieved 20 November 2021.
- ↑ "Aeroplane Propeller (Pearse Propeller Remains)". MOTAT. Retrieved 20 November 2021.
- ↑ "Motorcycle (Pearse)". MOTAT. Retrieved 20 November 2021.
- ↑ "Richard Pearse Memorial". Engineering New Zealand. 28 March 2019. Retrieved 20 November 2021.
- ↑ Price, Mark (12 March 2019). "History on the Move as Path's Tiles Lifted". Otago Daily Times.
- ↑ Thomas, Scott, "2000 The Pain and the Passion", 40th Anniversary Book (PDF), Rose Centre Theatre, Belmont, Auckland: Company Theatre, pp. 10–22
- ↑ Thomas, Scott, "2003 MOTAT—The Pain and the Passion", 40th Anniversary Book (PDF), Rose Centre Theatre, Belmont, Auckland: Company Theatre, pp. 59–63
- ↑ "All Shows". Canterbury Repertory Theatre.
- ↑ "On Stage". South Canterbury Drama League.
- ↑ "A respected presence in the SC theatre". The Timaru Herald. 7 October 2017.
- ↑ Bordwell, David. "Film forgery". Observations on film art. Retrieved 13 May 2023.
- ↑ Savlov, Marc (10 April 1998). "Movie Review: Forgotten Silver". Austin Chronicle. Retrieved 13 May 2023.
- ↑ "The New Adventures of Black Beauty - The Birdman | Television | NZ On Screen". NZ On Screen. Retrieved 13 May 2023.
- ↑ "Off the Ground - 1, The First to Fly | Television | NZ On Screen". NZ On Screen. Retrieved 13 May 2023.
- ↑ "Richard Pearse". NZ On Screen. Retrieved 13 May 2023.
- ↑ "Reverse the Polarity! - Fanlore". fanlore.org. Retrieved 13 May 2023.
- ↑ "Canterbury Brass. Musical Director: Dwayne Bloomfield". Retrieved 11 March 2020.
Bibliography
- Heath, Philip (Winter 2012). "Easy Flyer: Richard Pearse's 1912-13 Powercycle". The Driving Wheel. Auckland: The Museum of Transport and Technology Society (MOTAT Society) (3): 35–42.
- Jarrett, Philip (Winter 2003). "The Pearse Aeroplane". Prop-Swing: Journal of the Shuttleworth Veteran Aeroplane Society: 25–31.
- Martyn, Errol W. (2012). A Passion for Flight: New Zealand Aviation Before the Great War. Volume One: Ideas, First Flight Attempts and the Aeronauts 1868-1909. Christchurch: Volplane Press. ISBN 9780473203870.
- Moore, Dave (2007). Who was Richard William Pearse, 1877 to 1953: Aviation Pioneer. Nottingham, UK: D. Moore. ISBN 9780954745417.
- Moore, Helene; Rodliffe, Geoffrey (1999). Oh, For the Wings of a Moth. Auckland: C.G. Rodliffe. ISBN 0473057727.
- Ogilvie, Gordon (1973). The Riddle of Richard Pearse (1 ed.). Wellington: A.W. & A.H. Reed. ISBN 0589007947.
- Ogilvie, Gordon (1994). The Riddle of Richard Pearse: The Story of New Zealand's Pioneer Aviator and Inventor (Revised ed.). Auckland: Reed Publishing.
- Ogilvie, Gordon (2003). The Riddle of Richard Pearse: The Story of New Zealand's Pioneer Aviator and Inventor. Auckland: Reed. ISBN 0790003295.
- Riley, Bob (1995). Kiwi Ingenuity: A Book of New Zealand Ideas and Inventions. Auckland: AIT Press. ISBN 9780958333443.
- Rodliffe, C. Geoffrey (1997). Flight over Waitohi. Auckland: C.G. Rodliffe. ISBN 9780473050481.
- Rodliffe, C. Geoffrey (2007). Richard Pearse and His Flying Machines: An Anthology of Research Notes, Essays and Ideas (1 ed.). Auckland: C.G. Rodliffe. ISBN 9780473123628.
- Rodliffe, C. Geoffrey (1978). Richard Pearse: Pioneer Aviator (1 ed.). Auckland: Walsh Memorial Library of the Museum of Transport and Technology.
- Rodliffe, C. Geoffrey (1983). Richard Pearse: Pioneer Aviator. Auckland: Museum of Transport and Technology, and Richard Pearse Memorial Committee.
- Rodliffe, C. Geoffrey (2003). Richard Pearse: Pioneer Aviator (4 ed.). Thornbury, UK: C.G. Rodliffe. ISBN 9780473096861.
- Rodliffe, C. Geoffrey (1993). Wings Over Waitohi: The Story of Richard Pearse (1 ed.). Auckland: Avon Press. ISBN 9780473020941.
- Rodliffe, C. Geoffrey (1997). Wings Over Waitohi: The Story of Richard Pearse (2 ed.). Auckland: C.G. Rodliffe. ISBN 9780473050009.
- Tonkin, Keith (2003). Four Great New Zealand Inventors. Wellington: Gilt Edge Publishing. ISBN 9780473088125.
- Williams, Tony (2006). 101 Ingenious Kiwis: How New Zealanders Changed the World. Auckland: Reed New Zealand. ISBN 9780790011103.
- Yarwood, Vaughan (October–December 1999). "The Birdman of Upper Waitohi". New Zealand Geographic. No. 44. Auckland: Australian Consolidated Press New Zealand. pp. 110–127.
- Yarwood, Vaughan (2002). The History Makers: Adventures in New Zealand Biography. Auckland: Random House. ISBN 9781869415419.
External links
Pearse aero engine and flying machine makers
- 'Reproduction Pearse confirmed for January airshow', New Zealand Aviation News, 2011
- Richard Pearse aircraft replica project part 1, and part 2, 16 August 2012, on YouTube
- Flight of Fancy–Ivan Mudrovcich, Radio New Zealand
- Pearse Aircraft Wing Build Time Laps Video, 11 May 2013
- Will it Fly?, Official Trailer HD, Eye On U Productions Ltd, 30 June 2013
- 'Replica Pearse plane on course for lift-off' by Esther Ash-Coventry, The Timaru Herald, Stuff, 05 July 2013
- 'From the West to the Sky', Western Leader, 14 July 2013
- 'Grounded: Illness ends mission to fly Pearse replica' by Phil Taylor, New Zealand Herald, 20 October 2017
- Tribute to a good friend of Whitianga, The Informer, Mercury Bay, 29 August 2018
- 'An Engine Imagined: Puzzling Out Richard Pearse's Engine' by Roger Lacey, The Shed magazine, 01 May 2019
- 'Edwardian Era Replica Flying Machines of New Zealand - A Plethora of 1903 Pearse Replicas', NZ Civil Aircraft: A Blog on New Zealand Civil Aircraft, 27 May 2019
Richard Pearse Centenary of Flight 1903-2003
- 'Bamboo Dick, first in flight' by Debbi Gardiner, Salon, 22 August 2002
- U.S. Centennial of Flight Commission: Calendar of Events
- 'Three replica engines at Pearse Centenary Pageant', Scoop Independent News, 4 February 2003
- 'Remembering New Zealand's visionary aviator' by Warren Gamble, New Zealand Herald, 14 March 2003
- 'Crosswinds', A commemoration of the 100th anniversary of Pearce's flight, RadioNZ
- 'First to Fly Mystery' by David Killick, Freelance Journalist and Photographer
- 'Kiwis hail farmer who beat the Wright brothers into the air’ by Kathy Marks, Independent, 31 March 2003
Biographical
- 'This New Zealand Farmer Revolutionized Modern Planes', Smithsonian Channel, Smithsonian Magazine
- Richard William Pearse, 1877-1953 Christchurch City Libraries
- 'Richard Pearse: Was he the first man to 'fly' a mechanically powered aeroplane?', 2011. Eyewitnesses information and links to video clips
- 'Man's First Powered Flight: Richard Pearse, Waitohi, New Zealand, March 31, 1902' by Bill Sherwood
- Richard Pearse, New Zealand History
- 'Story: Pearse, Richard William', Te Ara: The Encyclopedia of New Zealand
- Pictures of Richard Pearse and his flying machine
- 'Richard Pearse: First Flyer', NZEDGE.com
- 'Research' by Geoff Rodliffe, AvStop.com
- 'New Zealand's Air Machines; Pearse - Ogilvie – Schaef' by Geoffrey Rodliffe, AvStop.com
Research